(注)これは結構事実に基づいてはいますが、
脚色とかも加えた、ややフィクショナルなお話です。十分ご承知おきください。
タチの悪い女に引っかかってしまったようなものかもしれません・・・。
「2000年に2000cc、200ps、200万円で発売されるらしい」
という噂(今考えればそれなりに当たっていたのかもしれない)に惑わされ始めて
それ以来10年近く、新型の情報を渇望し続けてきました。
奇しくも俺が先代VMAXを泣く泣く手放した2005年の秋、
東京モーターショーで突如プロトタイプの展示が出現してからは
その打ちひしがれていたタイミングも手伝って一気にヒートアップしました。
2007年のモーターショーでのオブジェ展示も当然見に観察しに行き、
それからは自分でもどうかしちゃったんじゃないかと思うくらいに様々な情報を漁りました。
「いつ発売されるのか?」「どんなスペックなのか?」「いったいいくらするのか?」
特許の図面とかまで漁っちゃってました(笑)
それはそう、一昔前の小中学生が女性の裸に憧れて、
公園に捨ててあるしわくちゃでページがくっついちゃったエロ本を
友達と木の枝でペラペラめくっては
「おぉー」とか感嘆の声を上げているような・・・・
(最近の小中学生はそんなことしないだろうなぁ・・・・ネットもあるし)
そんな禁断の果実を味わうような喜びみたいなものすら感じてました。
あれ?なんか話の方向性がずれて来たかも・・・。
そんなこんなで悶々としているところへ
遂に今年6月に新型VMAXが発表されたのです。
今まで想像するしかなかった物が、現実の物として目の前に現れたんですからもう大変です。
それはそう、
18歳になって公然とエロ本を立ち読みしたり、
ビデオ屋さんで宇宙企画とかのビデオを借りたりできるようになったようなもんです。
(ちょっと・・・いや、だいぶ違うか)
興味の対象は、より具体的な
「この機構はどんな働きをするのか?」とか「現物の質感やデザインはどうか?」
「写真じゃ良く見えないここんところはどうなってるのか?」
といったマニアックな方向性に進み始めます。
それはまさに、
塗りつぶされたあの部分やモザイクの向こう側への憧れに近いかもしれません・・・・!
(そろそろしつこいですかね・・・?)
そしてさらに症状が進行すると
ネットや雑誌でしか触れることができない情報では
満足ができなくなってきます。
そうこうしていたら、なんと! いろんな人のお陰さまで
9月に磐田のヤマハ本社で実物にお目にかかり、
しかも現物に触れる機会まで得ることができちゃったりしたもんだから、
もう大変です。
えーと・・・そうですね。
生身の女性と、AとかBまではできたけど、Cは寸止め、みたいな状態です(笑)
こうなるともう若さ(?)ゆえの情熱はパッションして、
「今度は乗ってみたい!」(←もちろん女性ではなくて新型VMAXの話です)
という気持ちがボルケーノのように噴出してくるわけです。
忌野清志郎ばりに
「バッテリー(だけ)はビンビンだぜ!」
状態なわけです。
磐田に実車を見に行った帰り道のこと。
VMAX取材とはまた違う用件で俺と同様に便乗?していたHさんと
「とにかく乗ってみたい!」
「あれで走ってみたい!」
と、延々東京までの2時間半をそんな話ばかりしてました。
(BornBikersWEBのOさんはクールに爆睡されてましたがw)
Hさんも勿論バイクに乗る人なんですが、
「どうしたら乗れるかなぁ?」
「乗るならやっぱりフルパワーに乗ってみたいねー」
と、二人の話はあらぬ方向へ向かっていくのです。
国内仕様がいつ登場してどんな仕様になるかは判りませんが、
「規制対策というお役所によるくだらない制限が入る前の
《技術者が最適と判断したスペック》の車輌に乗ってみたい」
という気持ちはやっぱり出てきてしまうのです。
特にそれがVMAXの場合は尚更・・・。
ちなみにHさんはレッドバロンで予約も入れている人だったりするんですが、
正直言ってその線は全くどうなるか見込みも立たない状態です。
国内仕様の話が出回り始めてからは、より一層動きが見えないのです。
レッドバロンじゃなくても
いずれはどこかの業者さんが逆輸入することになると思われますが、
そんなのいつになるか判らないし、国内仕様の方もどうなるか判らないし。
とにかくヤマハからの帰り道、
俺はそんなの待ってられないくらい、
「一刻も早くあのVMAXに乗ってみたい」気持ちだったのです。
それはHさんも同じだったようで
「じゃぁ個人で逆輸入できないもんかね?」
「国内仕様も発表になる前にさ、
アメリカでのデリバリー開始と同時に航空便で持ってきちゃったら面白いよね」
とかいう話をなんとなく始めたのです。
正直、その時は半分冗談みたいなモンでしたが、
その後、ある依頼をきっかけに
更に話は具体的になり、のめり込んで行くことになるのです。
それは、Hさんが知り合いから受けた、
「アメリカで予約だけしたまま帰国しちゃったんだけど
日本に持って来る方法ってないかな?」
という相談でした。
・・・・つづく!(かもしれない。・・・余力があれば)
これは半リアルタイムに進行するストーリー・・・になるかもしれません(笑)
さて、どうなることか・・・・。
(例え話がおバカなものしか思い浮かばなくてすみませんでした・・・)
とりあえずつづき(第2回)へ
まさか外にあるとは思いませんでしたよ!
現地に着いたらいきなり置いてあってびっくりしました。
そして…俺にとってはここ数年の内で一番の、
そう、新型VMAXが発表になったのと同じ位のサプライズな出来事もありました。
オブジェ目の前で、なんと
GKダイナミクスの一条さんと遭遇したのです…!
しかもそのまま30分以上VMAXについていろんなお話をした上に、
今度飲みに行きましょう、とか
もったいないお言葉までいただきました。
まあ多分に社交事例的なところはあると思いますが、
握手した時は感無量でした…。
あぁ…今日行って良かった…。
「俺流」の名前位はご存知だったことが、
これまた嬉しかったです…。
ちなみに展示は11月4日までやってるそうです。
あ、写真はデジカメ忘れて携帯で撮ったので暗くてどうしようもないけど、
記念にのっけたまでです。
左のニヤけたおじさんが誰なのかはヒミツです。
いやあ…生きてて良かったです…。
一条厚さんを知らない人は、
VMAX乗りとしてはモグリですから
イチから勉強し直してください!
とりあえず、
「一条厚 VMAX」とかで検索!
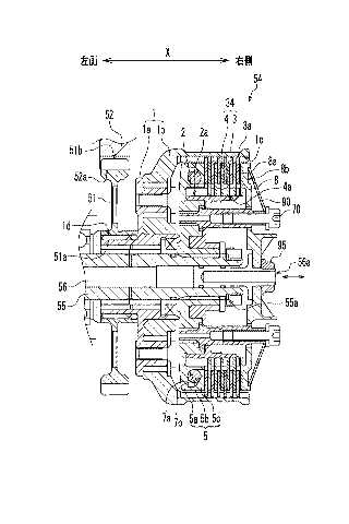
こないだ久しぶりに電子特許図書館を見てたら面白いものがありました。
クラッチ機構に関するヤマハの特許なんですが、
高回転時にのみクラッチスプリングの荷重を強くして
伝達トルクを増大させるんだそうな。
具体的には、
クラッチの軸部分に取り付けられた錘による遠心機構で
高回転時には遠心力で切り替えされて、
第2のスプリングによる圧縮力を追加する、とかいう説明でした。
これによって、
1.プレートを大型化しなくても、高回転時にのみ大容量を得ることができる
2.低回転時のフリクションプレートへの負担を軽減、耐久性も向上
3.クラッチレバー操作時(=低回転時)の負担(重さ)を軽減できる
みたいな効果があるようです。
これはまさにVMAX向きの特許ですよね。
特許の図面からするとVMAX用の物かどうかは不明なんですが、
図面と実車のクラッチの写真を見比べると・・・・付いてないかなぁ・・・・。
図面の5の部分が遠心機構らしいんですけどね・・・。
右の写真には見当たらないなぁ~。
実車のクラッチレバーは意外と軽かったから付いてると面白そうなんだけどなぁ・・・。
もし無くてもマイナーチェンジで追加されたりとかしないかなーとか妄想してます。
下記VMAXのCG動画は最初これと似た効果を狙った機構の説明かと思ったんですが、
よくよく見てみたら「ミドルギヤダンパー」って書いてありますね。
クラッチなんて映ってないし(笑)
動画そのものはかなり前に見つけたんですけど
解説も何にもないから、なんとなく想像はしてたんですけどね。
多分、急加速や急激なクラッチ操作から
ギヤとかドライブシャフトへの負担を軽くする機構っぽいですよね。
先代VMAXでは、ギヤ欠けとかドライブシャフト破損は
良くあるトラブルだったようなので「対策された」ということなんでしょうね。
しかしこういうのを考える人ってのはスゴイですねぇ・・・・ホント尊敬します。
| 12 | 2026/01 | 02 |
| S | M | T | W | T | F | S |
|---|---|---|---|---|---|---|
| 1 | 2 | 3 | ||||
| 4 | 5 | 6 | 7 | 8 | 9 | 10 |
| 11 | 12 | 13 | 14 | 15 | 16 | 17 |
| 18 | 19 | 20 | 21 | 22 | 23 | 24 |
| 25 | 26 | 27 | 28 | 29 | 30 | 31 |










